折叠屏iPhone重磅新料!无折痕设计专利实锤,发布时间线明朗
时间:2025-12-16 | 作者: | 阅读:0随着三星、谷歌等品牌的折叠屏手机已上市多年,科技界一直关注着苹果何时会加入这一市场。根据CNET于2025年11月发布的一篇综合报道,尽管苹果官方仍未发布任何声明,但多项分析师预测和专利信息表明,折叠屏iPhone的推出可能已不再遥远。

图片来源:CNET
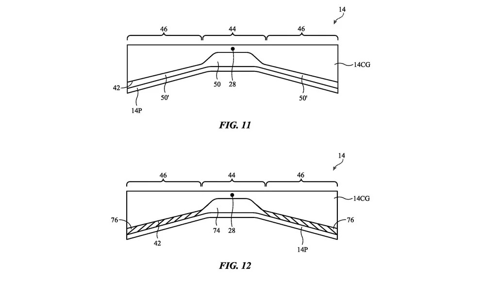
报道指出,一项关键的证据是苹果在2024年7月16日获得的一项专利。这项名为”电子设备与耐用折叠显示屏“的专利最初于2021年11月提交。专利文件描述了一种保护屏幕的铰链设计:当设备跌落时,显示屏会”围绕弯曲轴轻微折叠“,让设备边缘先着地,从而保护脆性的内屏。这证实了苹果在折叠屏技术上的长期研发。

图片来源:美国专利商标局
关于产品形态,目前传闻主要指向两种设计:
书本式折叠:根据知名分析师郭明錤(Ming-Chi Kuo)的预测,这类设备可能配备一块7.8英寸的无折痕内屏和一块5.5英寸的外屏。折叠时厚度约为9-9.5毫米,展开后为4.5-4.8毫米。设备可能配备前置摄像头和双后置摄像头。

图片来源:美国专利商标局
翻盖式折叠:另有信息称,苹果可能优先开发类似三星Galaxy Z Flip的翻盖式设备,旨在打造比现有iPhone薄一半的机型。郭明錤预测,为了追求轻薄,折叠屏iPhone可能会舍弃Face ID,转而采用集成在侧边按钮的Touch ID进行生物识别。

图片来源:CNET
在价格方面,郭明錤估计折叠屏iPhone的售价将在2000至2500美元之间,与市面上其他高端折叠屏设备持平。他预测其出货量可达300万至500万台。至于发布时间,各方预测存在分歧:郭明錤曾预测苹果最早可能在2026年底发布一款无折痕的折叠屏设备。然而,市场分析机构TrendForce的估计则更为保守,他们认为由于苹果对可靠性和消除屏幕折痕有着严格要求,其折叠屏产品的发布可能会推迟到2027年。报道回顾,关于折叠屏iPhone的传闻已流传多年,预测的发布日期从2023年一路推迟,因此最终的发布时间仍存在不确定性。

图片来源:苹果官网
除了手机,报道还提及苹果可能正在开发一款折叠屏iPad。该设备据称将配备约8英寸的显示屏(接近iPad Mini的大小)。由于不需要像手机那样放入口袋,其对耐用性和厚度的要求可能相对宽松一些。

图片来源:CNET
总而言之,虽然万众期待的折叠屏iPhone尚未得到苹果官方确认,但持续的专利活动和分析师报告都强烈预示着苹果正在积极筹备其折叠屏产品线,消费者或许在不久的将来就能看到结果。
编辑点评:折叠屏iPhone的传闻始终停留在分析师观点中,折射出苹果对技术极致的苛求。若其真能实现无折痕突破,或将重新定义折叠体验。但一切悬念,仍待苹果自己揭晓。
来源:https://mobile.pconline.com.cn/2036/20368572.html
免责声明:文中图文均来自网络,如有侵权请联系删除,心愿游戏发布此文仅为传递信息,不代表心愿游戏认同其观点或证实其描述。
相关文章
更多-
- 最后一舞!消息称库克将在本届WWDC完成任期收官演讲
- 时间:2026-05-26
-
- 国内售价约1.4万元!苹果首款折叠屏曝光:将采用石墨烯+VC散热
- 时间:2026-04-15
-
- 苹果三年计划重塑 iPhone!从轻薄迭代到无开孔终极形态
- 时间:2026-04-13
-
- 苹果筹备iPhone史上最大升级:首款折叠屏+20周年版齐登场
- 时间:2026-03-24
-
- 苹果折叠iPhone新消息!郭明錤:铰链价格低于预期 立讯精密有望成供应商
- 时间:2025-10-13
-
- 苹果折叠屏配置爆料:折叠屏iPhone将搭载屏下摄像头
- 时间:2025-04-16
精选合集
更多大家都在玩
大家都在看
更多-
- 原神妮露角色强度解析与培养攻略
- 时间:2026-05-26
-
- 王者荣耀世界游戏设置优化指南
- 时间:2026-05-26
-
- 三角洲行动M7战斗步枪最佳改装方案推荐
- 时间:2026-05-26
-
- 卡厄思梦境卢克卡牌技能效果详解
- 时间:2026-05-26
-
- 异环无名医院快速通关攻略与实用技巧
- 时间:2026-05-26
-
- 王者荣耀世界体力高效规划指南与技巧
- 时间:2026-05-26
-
- 烹饪青菜时,以下哪种做法更能保持营养和口感 蚂蚁庄园今日答案5.25
- 时间:2026-05-26
-
- 光遇5月26日每日任务怎么做 图文攻略详解
- 时间:2026-05-26